Quantify Rhodochrosite Lattice Parameters Using X-Ray Diffraction
OCT 1, 20259 MIN READ
Generate Your Research Report Instantly with AI Agent
Patsnap Eureka helps you evaluate technical feasibility & market potential.
X-Ray Diffraction Technology Evolution and Objectives
X-ray diffraction (XRD) technology has evolved significantly since its discovery by Max von Laue in 1912, followed by the groundbreaking work of William Henry Bragg and William Lawrence Bragg who established the relationship between crystal structures and their diffraction patterns. This fundamental understanding laid the foundation for modern crystallography and materials characterization techniques.
The evolution of XRD technology can be traced through several distinct phases. Early systems in the 1920s-1940s utilized photographic film to record diffraction patterns, with limited precision and requiring extensive manual analysis. The 1950s-1970s saw the introduction of automated diffractometers with scintillation counters, enabling more precise measurements and quantitative analysis of crystal structures.
A significant technological leap occurred in the 1980s-1990s with the development of solid-state detectors and computer-controlled systems, dramatically improving data collection speed and accuracy. Modern XRD systems now feature advanced position-sensitive detectors, high-brilliance X-ray sources, and sophisticated software for data analysis, enabling unprecedented resolution and sensitivity.
The application of XRD to mineral analysis, particularly for carbonates like rhodochrosite (MnCO₃), has become increasingly important in geological studies, mining operations, and materials science. Rhodochrosite's distinctive hexagonal crystal structure makes it an ideal candidate for lattice parameter quantification using XRD techniques.
Current technological objectives in XRD analysis of rhodochrosite focus on several key areas. First, enhancing measurement precision to detect subtle variations in lattice parameters that may indicate compositional changes or structural defects. Second, improving spatial resolution to enable mapping of heterogeneous samples at micro and nano scales. Third, developing in-situ capabilities to monitor structural changes under varying temperature, pressure, or chemical environments.
The integration of artificial intelligence and machine learning algorithms represents the newest frontier in XRD technology, enabling automated phase identification, background subtraction, and peak fitting with minimal human intervention. These advancements are particularly valuable for complex mineral systems like rhodochrosite, where peak overlapping and preferred orientation effects can complicate traditional analysis methods.
Looking forward, the trajectory of XRD technology for rhodochrosite analysis is moving toward portable and field-deployable systems, real-time analysis capabilities, and integration with complementary techniques such as spectroscopy and electron microscopy to provide comprehensive characterization of mineral structures and properties.
The evolution of XRD technology can be traced through several distinct phases. Early systems in the 1920s-1940s utilized photographic film to record diffraction patterns, with limited precision and requiring extensive manual analysis. The 1950s-1970s saw the introduction of automated diffractometers with scintillation counters, enabling more precise measurements and quantitative analysis of crystal structures.
A significant technological leap occurred in the 1980s-1990s with the development of solid-state detectors and computer-controlled systems, dramatically improving data collection speed and accuracy. Modern XRD systems now feature advanced position-sensitive detectors, high-brilliance X-ray sources, and sophisticated software for data analysis, enabling unprecedented resolution and sensitivity.
The application of XRD to mineral analysis, particularly for carbonates like rhodochrosite (MnCO₃), has become increasingly important in geological studies, mining operations, and materials science. Rhodochrosite's distinctive hexagonal crystal structure makes it an ideal candidate for lattice parameter quantification using XRD techniques.
Current technological objectives in XRD analysis of rhodochrosite focus on several key areas. First, enhancing measurement precision to detect subtle variations in lattice parameters that may indicate compositional changes or structural defects. Second, improving spatial resolution to enable mapping of heterogeneous samples at micro and nano scales. Third, developing in-situ capabilities to monitor structural changes under varying temperature, pressure, or chemical environments.
The integration of artificial intelligence and machine learning algorithms represents the newest frontier in XRD technology, enabling automated phase identification, background subtraction, and peak fitting with minimal human intervention. These advancements are particularly valuable for complex mineral systems like rhodochrosite, where peak overlapping and preferred orientation effects can complicate traditional analysis methods.
Looking forward, the trajectory of XRD technology for rhodochrosite analysis is moving toward portable and field-deployable systems, real-time analysis capabilities, and integration with complementary techniques such as spectroscopy and electron microscopy to provide comprehensive characterization of mineral structures and properties.
Market Applications for Rhodochrosite Characterization
The characterization of rhodochrosite using X-ray diffraction techniques serves numerous valuable market applications across multiple industries. In the mining and mineral processing sector, precise lattice parameter quantification enables more efficient extraction and processing of manganese carbonate ores. Companies can optimize their beneficiation processes by accurately identifying rhodochrosite content in complex mineral assemblages, leading to improved recovery rates and reduced processing costs. This application is particularly significant in countries with substantial manganese deposits such as Brazil, South Africa, and China.
In the gemstone and jewelry industry, rhodochrosite's distinctive pink color makes it a sought-after semi-precious stone. X-ray diffraction analysis helps authenticate natural rhodochrosite, distinguishing it from synthetic alternatives or similar-appearing minerals. This authentication capability supports premium pricing for verified natural specimens, creating a specialized market niche for collectors and luxury jewelry manufacturers.
The materials science and advanced manufacturing sectors benefit from rhodochrosite characterization through the development of novel manganese-based materials. Precise lattice parameter measurements facilitate the creation of specialized catalysts, battery components, and electronic materials. The growing electric vehicle market has particularly increased demand for manganese-containing cathode materials, where structural characterization is essential for performance optimization.
Environmental remediation represents another significant market application. Rhodochrosite can serve as an effective sorbent for heavy metal removal from contaminated waters. Understanding its crystal structure through X-ray diffraction enables the development of optimized remediation technologies. This application addresses growing regulatory pressures for water treatment solutions in industrial settings.
In geological research and exploration, rhodochrosite lattice parameter analysis provides valuable information about formation conditions of mineral deposits. This data helps exploration companies identify promising new resource locations and evaluate deposit quality. The increasing demand for critical minerals has heightened interest in sophisticated exploration techniques that incorporate detailed crystallographic analysis.
Cultural heritage preservation constitutes a specialized but valuable market application. Museums and conservation institutions utilize X-ray diffraction to authenticate historical artifacts containing rhodochrosite and develop appropriate preservation strategies. This specialized service market supports the valuation and conservation of cultural treasures containing this distinctive mineral.
The academic and research instrumentation market also benefits from rhodochrosite characterization capabilities, with universities and research institutions investing in advanced X-ray diffraction equipment to support materials science research and educational programs focused on crystallography and mineralogy.
In the gemstone and jewelry industry, rhodochrosite's distinctive pink color makes it a sought-after semi-precious stone. X-ray diffraction analysis helps authenticate natural rhodochrosite, distinguishing it from synthetic alternatives or similar-appearing minerals. This authentication capability supports premium pricing for verified natural specimens, creating a specialized market niche for collectors and luxury jewelry manufacturers.
The materials science and advanced manufacturing sectors benefit from rhodochrosite characterization through the development of novel manganese-based materials. Precise lattice parameter measurements facilitate the creation of specialized catalysts, battery components, and electronic materials. The growing electric vehicle market has particularly increased demand for manganese-containing cathode materials, where structural characterization is essential for performance optimization.
Environmental remediation represents another significant market application. Rhodochrosite can serve as an effective sorbent for heavy metal removal from contaminated waters. Understanding its crystal structure through X-ray diffraction enables the development of optimized remediation technologies. This application addresses growing regulatory pressures for water treatment solutions in industrial settings.
In geological research and exploration, rhodochrosite lattice parameter analysis provides valuable information about formation conditions of mineral deposits. This data helps exploration companies identify promising new resource locations and evaluate deposit quality. The increasing demand for critical minerals has heightened interest in sophisticated exploration techniques that incorporate detailed crystallographic analysis.
Cultural heritage preservation constitutes a specialized but valuable market application. Museums and conservation institutions utilize X-ray diffraction to authenticate historical artifacts containing rhodochrosite and develop appropriate preservation strategies. This specialized service market supports the valuation and conservation of cultural treasures containing this distinctive mineral.
The academic and research instrumentation market also benefits from rhodochrosite characterization capabilities, with universities and research institutions investing in advanced X-ray diffraction equipment to support materials science research and educational programs focused on crystallography and mineralogy.
Current XRD Techniques and Challenges for Carbonate Minerals
X-ray diffraction (XRD) has become the gold standard for mineral structure analysis, particularly for carbonate minerals like rhodochrosite (MnCO₃). Current XRD techniques for analyzing carbonate minerals primarily utilize powder diffraction and single-crystal methods, each offering distinct advantages for quantifying lattice parameters.
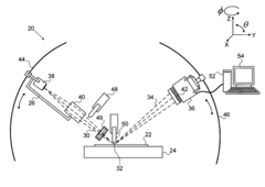
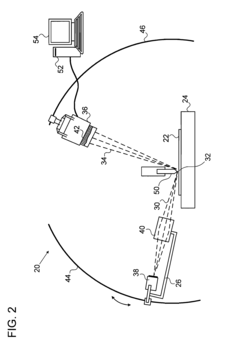
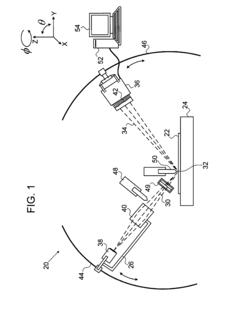
Powder XRD represents the most widely employed technique for routine analysis of carbonate minerals. Modern powder diffractometers typically operate with Cu-Kα radiation (λ = 1.5418 Å) and utilize Bragg-Brentano geometry. This configuration allows for precise measurement of d-spacings, which can be converted to lattice parameters through indexing and refinement procedures. For rhodochrosite, which crystallizes in the trigonal system (space group R3̄c), the hexagonal unit cell parameters (a and c) can be determined with precision approaching ±0.001 Å under optimal conditions.
Advanced refinement methods, particularly Rietveld refinement, have significantly enhanced the capabilities of powder XRD for carbonate mineral analysis. This mathematical approach fits the entire diffraction pattern rather than individual peaks, accounting for peak overlap issues common in carbonate minerals due to their similar crystal structures. Software packages like GSAS-II, FullProf, and TOPAS have made these sophisticated analyses more accessible to researchers.
Despite these advances, several challenges persist in the XRD analysis of carbonate minerals. Sample preparation remains a critical factor affecting data quality. Preferred orientation effects are particularly problematic for carbonates due to their perfect cleavage planes, which can lead to systematic errors in intensity measurements and consequently in lattice parameter determination. Various techniques including spray-drying and backloading sample holders have been developed to mitigate these effects, but they remain challenging for highly anisotropic crystals like rhodochrosite.
Microabsorption represents another significant challenge, especially for transition metal carbonates like rhodochrosite. Manganese has relatively high X-ray absorption coefficients with Cu-Kα radiation, leading to absorption contrast effects that can distort peak intensities and positions. This issue becomes particularly problematic in mixed-phase samples or when attempting to quantify minor phases.
Structural complexity presents additional difficulties. Many natural carbonate minerals, including rhodochrosite, rarely occur as pure end-members and often contain significant cation substitutions (e.g., Ca, Fe, Mg replacing Mn in rhodochrosite). These substitutions can cause subtle distortions in the crystal lattice that complicate precise parameter determination. Furthermore, carbonates can exhibit various degrees of disorder, including stacking faults and domain structures, which manifest as peak broadening or asymmetry in diffraction patterns.
High-resolution synchrotron XRD has emerged as a powerful tool for overcoming many of these limitations, offering superior resolution and signal-to-noise ratios. However, access to synchrotron facilities remains limited, making this approach impractical for routine analyses.
Powder XRD represents the most widely employed technique for routine analysis of carbonate minerals. Modern powder diffractometers typically operate with Cu-Kα radiation (λ = 1.5418 Å) and utilize Bragg-Brentano geometry. This configuration allows for precise measurement of d-spacings, which can be converted to lattice parameters through indexing and refinement procedures. For rhodochrosite, which crystallizes in the trigonal system (space group R3̄c), the hexagonal unit cell parameters (a and c) can be determined with precision approaching ±0.001 Å under optimal conditions.
Advanced refinement methods, particularly Rietveld refinement, have significantly enhanced the capabilities of powder XRD for carbonate mineral analysis. This mathematical approach fits the entire diffraction pattern rather than individual peaks, accounting for peak overlap issues common in carbonate minerals due to their similar crystal structures. Software packages like GSAS-II, FullProf, and TOPAS have made these sophisticated analyses more accessible to researchers.
Despite these advances, several challenges persist in the XRD analysis of carbonate minerals. Sample preparation remains a critical factor affecting data quality. Preferred orientation effects are particularly problematic for carbonates due to their perfect cleavage planes, which can lead to systematic errors in intensity measurements and consequently in lattice parameter determination. Various techniques including spray-drying and backloading sample holders have been developed to mitigate these effects, but they remain challenging for highly anisotropic crystals like rhodochrosite.
Microabsorption represents another significant challenge, especially for transition metal carbonates like rhodochrosite. Manganese has relatively high X-ray absorption coefficients with Cu-Kα radiation, leading to absorption contrast effects that can distort peak intensities and positions. This issue becomes particularly problematic in mixed-phase samples or when attempting to quantify minor phases.
Structural complexity presents additional difficulties. Many natural carbonate minerals, including rhodochrosite, rarely occur as pure end-members and often contain significant cation substitutions (e.g., Ca, Fe, Mg replacing Mn in rhodochrosite). These substitutions can cause subtle distortions in the crystal lattice that complicate precise parameter determination. Furthermore, carbonates can exhibit various degrees of disorder, including stacking faults and domain structures, which manifest as peak broadening or asymmetry in diffraction patterns.
High-resolution synchrotron XRD has emerged as a powerful tool for overcoming many of these limitations, offering superior resolution and signal-to-noise ratios. However, access to synchrotron facilities remains limited, making this approach impractical for routine analyses.
Established Protocols for Mineral Lattice Parameter Quantification
01 Crystal structure and lattice parameters of rhodochrosite
Rhodochrosite (MnCO3) has a rhombohedral crystal structure with specific lattice parameters that define its crystallographic properties. These parameters include the unit cell dimensions and angles that characterize the arrangement of atoms within the crystal. Understanding these parameters is crucial for material identification, characterization, and applications in various fields including mineralogy and materials science.- Crystal structure and lattice parameters of rhodochrosite: Rhodochrosite (MnCO3) has a rhombohedral crystal structure with specific lattice parameters that define its crystallographic properties. These parameters include the unit cell dimensions and angles that characterize the arrangement of atoms within the crystal lattice. Understanding these parameters is crucial for material identification, characterization, and applications in various fields including mineralogy and materials science.
- Measurement techniques for rhodochrosite lattice parameters: Various analytical techniques are employed to measure and determine the lattice parameters of rhodochrosite. These include X-ray diffraction (XRD), electron microscopy, and computational modeling approaches. These methods allow for precise determination of the crystal structure dimensions, which is essential for understanding the material's physical and chemical properties and for quality control in mineral processing and materials development.
- Effects of doping and substitution on rhodochrosite lattice: The incorporation of dopants or substitutional elements into the rhodochrosite crystal structure can significantly alter its lattice parameters. These modifications can lead to changes in the material's electronic, magnetic, and optical properties. Research focuses on how different elements can be introduced into the rhodochrosite structure and how these substitutions affect the overall crystal lattice dimensions and stability.
- Temperature and pressure effects on rhodochrosite lattice parameters: The lattice parameters of rhodochrosite are sensitive to changes in temperature and pressure conditions. Studies investigate how these environmental factors influence the crystal structure, including thermal expansion coefficients and compressibility. Understanding these relationships is important for applications in high-temperature or high-pressure environments and for predicting material behavior under varying conditions.
- Applications utilizing rhodochrosite lattice characteristics: The specific lattice parameters of rhodochrosite make it suitable for various technological applications. These include electronic devices, sensors, catalysts, and energy storage systems. The unique crystallographic properties of rhodochrosite can be leveraged to develop materials with tailored functionalities, such as improved conductivity, enhanced catalytic activity, or specific magnetic properties for advanced applications.
02 Methods for measuring and analyzing rhodochrosite lattice parameters
Various analytical techniques are employed to measure and analyze the lattice parameters of rhodochrosite. These include X-ray diffraction (XRD), electron microscopy, and computational modeling approaches. These methods allow for precise determination of the crystal structure, enabling researchers to understand the material's properties and behavior under different conditions.Expand Specific Solutions03 Effects of doping and substitution on rhodochrosite lattice parameters
The introduction of dopants or substitutional elements into the rhodochrosite crystal structure can significantly alter its lattice parameters. These modifications can lead to changes in the material's electronic, magnetic, and optical properties. Research in this area focuses on understanding how different elements affect the crystal structure and how these changes can be leveraged for specific applications.Expand Specific Solutions04 Temperature and pressure effects on rhodochrosite lattice parameters
The lattice parameters of rhodochrosite are sensitive to changes in temperature and pressure. Studies investigate how these environmental factors affect the crystal structure, including thermal expansion, phase transitions, and structural stability. Understanding these relationships is important for applications in high-temperature or high-pressure environments and for geological studies of mineral formation.Expand Specific Solutions05 Applications utilizing rhodochrosite lattice parameters
Knowledge of rhodochrosite lattice parameters enables various technological applications. These include the development of sensors, electronic devices, catalysts, and energy storage materials. The specific crystal structure of rhodochrosite influences its functional properties, making precise understanding of lattice parameters essential for designing materials with targeted characteristics for industrial and research applications.Expand Specific Solutions
Leading Institutions and Manufacturers in XRD Technology
The X-ray diffraction (XRD) analysis of rhodochrosite lattice parameters represents a niche but growing technical field at the intersection of materials science and mineralogy. Currently in a development phase, this market is characterized by specialized applications in pharmaceutical research, energy, and mining sectors. The technology demonstrates moderate maturity with established players like Bruker AXS GmbH and Rigaku Corp. leading instrumentation development, while research institutions such as CSIC and CNRS drive fundamental advancements. Pharmaceutical companies including Jiangsu Hengrui, Takeda, and Astex Therapeutics are leveraging this technology for drug development applications. The field is experiencing increased cross-sector collaboration between academic institutions and industry partners, particularly in materials characterization for energy storage applications as evidenced by FUJIFILM and FDK Corp's involvement.
Consejo Superior de Investigaciones Científicas
Technical Solution: The Consejo Superior de Investigaciones Científicas (CSIC) has developed specialized methodologies for analyzing carbonate minerals including rhodochrosite using synchrotron-based X-ray diffraction techniques. Their approach combines high-resolution powder diffraction with advanced computational modeling to precisely determine lattice parameters of rhodochrosite in complex geological samples. CSIC researchers have pioneered the use of the Rietveld method with specialized constraints for rhombohedral carbonates, allowing accurate determination of the a and c lattice parameters even in samples with significant impurities or structural defects. Their methodology incorporates correction algorithms for absorption effects and preferred orientation, which are particularly important for transition metal carbonates like rhodochrosite. CSIC has also developed protocols for in-situ XRD analysis of rhodochrosite under controlled environmental conditions, enabling the study of lattice parameter variations with temperature, pressure, and humidity changes, which is crucial for understanding the mineral's behavior in geological processes.
Strengths: Exceptional precision through synchrotron-based techniques; sophisticated computational methods for complex samples; comprehensive approach addressing common analytical challenges in carbonate minerals. Weaknesses: Methodologies may require access to specialized synchrotron facilities; higher complexity compared to conventional laboratory techniques; requires significant expertise in crystallography and data analysis.
Bruker AXS GmbH
Technical Solution: Bruker AXS GmbH has developed advanced X-ray diffraction (XRD) systems specifically optimized for mineral analysis, including rhodochrosite characterization. Their D8 ADVANCE and D8 DISCOVER series incorporate sophisticated DAVINCI design for precise lattice parameter determination with minimal sample preparation. The systems utilize their proprietary LYNXEYE XE detector technology that provides high energy resolution and significantly reduces fluorescence background, which is particularly beneficial for transition metal-containing minerals like rhodochrosite (MnCO3). Their DIFFRAC.SUITE software package includes specialized algorithms for Rietveld refinement that can accurately quantify lattice parameters with precision up to 0.0001 Å. The company has also developed specialized sample holders and preparation techniques to minimize preferred orientation effects that can complicate accurate lattice parameter determination in carbonate minerals.
Strengths: Industry-leading detector technology with superior energy resolution; comprehensive software suite with specialized mineral analysis capabilities; high precision measurement systems with excellent reproducibility. Weaknesses: High cost of equipment and maintenance; requires significant expertise to fully utilize advanced features; some systems may be overengineered for basic rhodochrosite analysis.
Critical XRD Methodologies for Rhodochrosite Structure Determination
Solid-state conductor materials
PatentWO2023170418A1
Innovation
- A new class of solid crystalline materials with the formula LiaMY4XZ, where M is Si, Al, Sb, Sn, B, Ga, or Ge, and X and Z are O, S, F, Cl, Br, or I, offering high ionic conductivity, stability, and mechanical properties suitable for use as solid electrolytes in lithium ion batteries, which can be synthesized at lower temperatures using earth-abundant elements.
High-Resolution X-Ray Diffraction Measurement with Enhanced Sensitivity
PatentActiveUS20120281814A1
Innovation
- The method involves directing a converging X-ray beam toward a sample with multiple crystalline layers, using a beam blocker to block the strong diffraction peak from the substrate, and shifting the sample out of focus to increase the separation between peaks, allowing for precise detection of characteristics like dopant concentration and relaxation through fringe analysis in the diffraction spectrum.
Materials Science Implications of Rhodochrosite Research
The study of rhodochrosite lattice parameters through X-ray diffraction techniques has profound implications for materials science that extend well beyond mineralogical characterization. Rhodochrosite (MnCO3), with its distinctive hexagonal crystal structure, serves as an important model system for understanding carbonate minerals and their behavior under various environmental conditions.
The precise quantification of rhodochrosite's lattice parameters enables materials scientists to establish critical structure-property relationships that inform the development of novel manganese-based materials. These relationships are particularly valuable for applications in catalysis, where the surface properties and atomic arrangements directly influence catalytic efficiency. The hexagonal structure of rhodochrosite, when fully characterized, provides insights into designing more effective manganese oxide catalysts for environmental remediation and energy conversion processes.
Furthermore, understanding the thermal expansion behavior of rhodochrosite through temperature-dependent X-ray diffraction studies offers valuable data for predicting material stability in high-temperature applications. This knowledge is essential for developing manganese-containing ceramics and other high-performance materials that must maintain structural integrity under thermal stress.
The lattice parameter variations in rhodochrosite also serve as sensitive indicators of substitutional doping effects. When transition metals such as zinc, iron, or calcium substitute for manganese in the crystal structure, measurable changes in lattice parameters occur. These substitutional effects can be strategically exploited to tune electronic, magnetic, and optical properties in engineered materials.
Biomineralization researchers benefit significantly from rhodochrosite studies, as the formation mechanisms of carbonate minerals inform the development of biomimetic materials. The controlled crystallization processes observed in rhodochrosite provide templates for synthesizing hierarchically structured materials with enhanced mechanical properties.
Additionally, the strain analysis techniques developed for rhodochrosite X-ray diffraction studies have broader applications in materials characterization, particularly for thin films and nanomaterials where lattice mismatch and interfacial strain critically affect performance. These analytical approaches contribute to the advancement of semiconductor technology and functional coating development.
The correlation between rhodochrosite's crystal structure and its distinctive pink coloration also provides valuable insights for the design of environmentally friendly pigments and optical materials, offering alternatives to synthetic colorants in various industrial applications.
The precise quantification of rhodochrosite's lattice parameters enables materials scientists to establish critical structure-property relationships that inform the development of novel manganese-based materials. These relationships are particularly valuable for applications in catalysis, where the surface properties and atomic arrangements directly influence catalytic efficiency. The hexagonal structure of rhodochrosite, when fully characterized, provides insights into designing more effective manganese oxide catalysts for environmental remediation and energy conversion processes.
Furthermore, understanding the thermal expansion behavior of rhodochrosite through temperature-dependent X-ray diffraction studies offers valuable data for predicting material stability in high-temperature applications. This knowledge is essential for developing manganese-containing ceramics and other high-performance materials that must maintain structural integrity under thermal stress.
The lattice parameter variations in rhodochrosite also serve as sensitive indicators of substitutional doping effects. When transition metals such as zinc, iron, or calcium substitute for manganese in the crystal structure, measurable changes in lattice parameters occur. These substitutional effects can be strategically exploited to tune electronic, magnetic, and optical properties in engineered materials.
Biomineralization researchers benefit significantly from rhodochrosite studies, as the formation mechanisms of carbonate minerals inform the development of biomimetic materials. The controlled crystallization processes observed in rhodochrosite provide templates for synthesizing hierarchically structured materials with enhanced mechanical properties.
Additionally, the strain analysis techniques developed for rhodochrosite X-ray diffraction studies have broader applications in materials characterization, particularly for thin films and nanomaterials where lattice mismatch and interfacial strain critically affect performance. These analytical approaches contribute to the advancement of semiconductor technology and functional coating development.
The correlation between rhodochrosite's crystal structure and its distinctive pink coloration also provides valuable insights for the design of environmentally friendly pigments and optical materials, offering alternatives to synthetic colorants in various industrial applications.
Environmental Applications and Geological Significance
Rhodochrosite, a manganese carbonate mineral, plays a significant role in environmental science and geological studies. The precise quantification of its lattice parameters through X-ray diffraction techniques provides valuable insights into environmental processes and geological formations. Understanding these parameters enables scientists to track environmental changes and interpret geological history with greater accuracy.
In environmental applications, rhodochrosite serves as an important indicator of redox conditions in various ecosystems. Its presence in sediments and soils can signal specific environmental conditions, particularly in aquatic systems where manganese cycling is prominent. The lattice parameters of rhodochrosite can vary subtly with incorporation of trace elements, reflecting the chemical composition of the environment during formation. These variations, when accurately quantified through X-ray diffraction, provide a record of environmental conditions that can be used to monitor pollution, assess remediation efforts, and understand biogeochemical cycles.
Rhodochrosite formation in mine drainage environments represents a natural attenuation mechanism for manganese contamination. The precise characterization of its crystal structure helps in developing more effective bioremediation strategies for metal-contaminated sites. Environmental engineers utilize this information to design treatment systems that promote rhodochrosite precipitation as a means of immobilizing manganese and associated heavy metals.
From a geological perspective, rhodochrosite serves as a paleoenvironmental proxy. Its lattice parameters can reveal information about the temperature, pressure, and chemical conditions during mineral formation. This makes accurately quantified rhodochrosite an important tool in reconstructing ancient environments and understanding Earth's geological history. In hydrothermal deposits, variations in rhodochrosite structure can indicate fluid composition changes over time, providing insights into ore-forming processes.
The mineral's occurrence in marine sediments is particularly significant for paleoceanographic studies. Changes in rhodochrosite lattice parameters in sediment cores can reflect shifts in ocean chemistry, redox conditions, and biological activity through geological time. These records contribute to our understanding of climate change patterns and their effects on marine ecosystems throughout Earth's history.
In modern geological surveys, the precise identification and characterization of rhodochrosite through X-ray diffraction techniques aids in mineral resource assessment and geological mapping. The mineral's association with economically important manganese deposits makes its accurate identification crucial for exploration geology and mining operations.
In environmental applications, rhodochrosite serves as an important indicator of redox conditions in various ecosystems. Its presence in sediments and soils can signal specific environmental conditions, particularly in aquatic systems where manganese cycling is prominent. The lattice parameters of rhodochrosite can vary subtly with incorporation of trace elements, reflecting the chemical composition of the environment during formation. These variations, when accurately quantified through X-ray diffraction, provide a record of environmental conditions that can be used to monitor pollution, assess remediation efforts, and understand biogeochemical cycles.
Rhodochrosite formation in mine drainage environments represents a natural attenuation mechanism for manganese contamination. The precise characterization of its crystal structure helps in developing more effective bioremediation strategies for metal-contaminated sites. Environmental engineers utilize this information to design treatment systems that promote rhodochrosite precipitation as a means of immobilizing manganese and associated heavy metals.
From a geological perspective, rhodochrosite serves as a paleoenvironmental proxy. Its lattice parameters can reveal information about the temperature, pressure, and chemical conditions during mineral formation. This makes accurately quantified rhodochrosite an important tool in reconstructing ancient environments and understanding Earth's geological history. In hydrothermal deposits, variations in rhodochrosite structure can indicate fluid composition changes over time, providing insights into ore-forming processes.
The mineral's occurrence in marine sediments is particularly significant for paleoceanographic studies. Changes in rhodochrosite lattice parameters in sediment cores can reflect shifts in ocean chemistry, redox conditions, and biological activity through geological time. These records contribute to our understanding of climate change patterns and their effects on marine ecosystems throughout Earth's history.
In modern geological surveys, the precise identification and characterization of rhodochrosite through X-ray diffraction techniques aids in mineral resource assessment and geological mapping. The mineral's association with economically important manganese deposits makes its accurate identification crucial for exploration geology and mining operations.
Unlock deeper insights with Patsnap Eureka Quick Research — get a full tech report to explore trends and direct your research. Try now!
Generate Your Research Report Instantly with AI Agent
Supercharge your innovation with Patsnap Eureka AI Agent Platform!