Comparative Study: Dolby Vision vs. HDR Standards in Videography
JUL 30, 20258 MIN READ
Generate Your Research Report Instantly with AI Agent
Patsnap Eureka helps you evaluate technical feasibility & market potential.
HDR Evolution and Objectives
High Dynamic Range (HDR) technology has revolutionized the way we capture, process, and display visual content. The evolution of HDR in videography can be traced back to the early 2000s when digital cameras began to offer wider dynamic ranges. However, it wasn't until the mid-2010s that HDR truly gained momentum in the consumer market.
The primary objective of HDR technology is to enhance the visual experience by expanding the range of both contrast and color accuracy. This allows for more lifelike images with greater detail in both the brightest highlights and the darkest shadows. As display technology advanced, the need for content that could fully utilize these capabilities became apparent, leading to the development of various HDR standards.
One of the earliest HDR formats to gain widespread adoption was HDR10, an open standard that quickly became the baseline for HDR content. HDR10 uses static metadata, which means that brightness levels are set for the entire content. This was followed by HDR10+, which introduced dynamic metadata, allowing for scene-by-scene or even frame-by-frame optimization of brightness levels.
Dolby Vision, developed by Dolby Laboratories, emerged as a premium HDR format. It offers 12-bit color depth and dynamic metadata, providing a more refined and adaptable HDR experience. Dolby Vision aims to deliver the most accurate representation of the creator's intent across a wide range of displays, from high-end televisions to mobile devices.
The objectives of HDR technology in videography are multifaceted. Primarily, it seeks to bridge the gap between human visual perception and the capabilities of capture and display devices. By expanding the dynamic range and color gamut, HDR aims to create a more immersive and realistic viewing experience that closely mimics what the human eye can see in the real world.
Another key objective is to provide content creators with more tools to express their artistic vision. HDR allows for greater creative freedom, enabling filmmakers and videographers to capture and present scenes with unprecedented detail and color accuracy. This is particularly valuable in high-contrast scenarios, such as sunsets or dimly lit interiors, where traditional video formats often struggle to retain detail.
As the technology continues to evolve, the focus is shifting towards standardization and interoperability. The goal is to create a unified HDR ecosystem that can seamlessly deliver high-quality content across various devices and platforms. This includes developing more efficient compression techniques to handle the increased data requirements of HDR content, as well as improving the ability of displays to accurately reproduce HDR signals.
The primary objective of HDR technology is to enhance the visual experience by expanding the range of both contrast and color accuracy. This allows for more lifelike images with greater detail in both the brightest highlights and the darkest shadows. As display technology advanced, the need for content that could fully utilize these capabilities became apparent, leading to the development of various HDR standards.
One of the earliest HDR formats to gain widespread adoption was HDR10, an open standard that quickly became the baseline for HDR content. HDR10 uses static metadata, which means that brightness levels are set for the entire content. This was followed by HDR10+, which introduced dynamic metadata, allowing for scene-by-scene or even frame-by-frame optimization of brightness levels.
Dolby Vision, developed by Dolby Laboratories, emerged as a premium HDR format. It offers 12-bit color depth and dynamic metadata, providing a more refined and adaptable HDR experience. Dolby Vision aims to deliver the most accurate representation of the creator's intent across a wide range of displays, from high-end televisions to mobile devices.
The objectives of HDR technology in videography are multifaceted. Primarily, it seeks to bridge the gap between human visual perception and the capabilities of capture and display devices. By expanding the dynamic range and color gamut, HDR aims to create a more immersive and realistic viewing experience that closely mimics what the human eye can see in the real world.
Another key objective is to provide content creators with more tools to express their artistic vision. HDR allows for greater creative freedom, enabling filmmakers and videographers to capture and present scenes with unprecedented detail and color accuracy. This is particularly valuable in high-contrast scenarios, such as sunsets or dimly lit interiors, where traditional video formats often struggle to retain detail.
As the technology continues to evolve, the focus is shifting towards standardization and interoperability. The goal is to create a unified HDR ecosystem that can seamlessly deliver high-quality content across various devices and platforms. This includes developing more efficient compression techniques to handle the increased data requirements of HDR content, as well as improving the ability of displays to accurately reproduce HDR signals.
Market Demand Analysis
The market demand for advanced High Dynamic Range (HDR) technologies in videography has been steadily increasing, driven by the growing consumer appetite for superior visual experiences across various platforms. Both Dolby Vision and other HDR standards have emerged as key players in this evolving landscape, each vying for market share and industry adoption.
The global HDR market has shown significant growth potential, with projections indicating substantial expansion in the coming years. This growth is primarily fueled by the rising adoption of 4K and 8K displays, the proliferation of streaming services, and the increasing demand for high-quality content in both professional and consumer sectors.
Dolby Vision, as a proprietary HDR format, has gained traction in the market due to its advanced capabilities and support from major content creators and device manufacturers. Its dynamic metadata approach allows for scene-by-scene optimization, resulting in enhanced image quality that appeals to both filmmakers and viewers. This has led to increased adoption in premium televisions, smartphones, and streaming platforms.
Concurrently, open HDR standards such as HDR10 and HDR10+ have also seen widespread adoption, particularly due to their royalty-free nature and broad compatibility. These standards have become prevalent in a wide range of consumer electronics, from budget-friendly to high-end devices, making HDR technology more accessible to a broader audience.
The demand for HDR technologies extends beyond the consumer market, with significant interest from the professional videography sector. Filmmakers, content creators, and post-production houses are increasingly seeking HDR solutions to enhance their creative output and meet the growing expectations of audiences and distributors.
In the broadcast and streaming industries, the adoption of HDR technologies has become a key differentiator. Major streaming platforms and broadcasters are investing in HDR content production and delivery to attract and retain subscribers, driving further demand for compatible technologies and devices.
The automotive industry has also emerged as a potential growth area for HDR technologies, with advanced in-vehicle displays incorporating HDR capabilities to enhance driver information systems and passenger entertainment experiences.
As the market continues to evolve, there is a growing demand for standardization and interoperability between different HDR formats. This has led to increased collaboration between industry players and standards bodies to develop more unified approaches to HDR implementation.
The competitive landscape between Dolby Vision and other HDR standards has spurred innovation and investment in research and development. This competition has resulted in continuous improvements in HDR technology, benefiting both consumers and professionals in the videography industry.
The global HDR market has shown significant growth potential, with projections indicating substantial expansion in the coming years. This growth is primarily fueled by the rising adoption of 4K and 8K displays, the proliferation of streaming services, and the increasing demand for high-quality content in both professional and consumer sectors.
Dolby Vision, as a proprietary HDR format, has gained traction in the market due to its advanced capabilities and support from major content creators and device manufacturers. Its dynamic metadata approach allows for scene-by-scene optimization, resulting in enhanced image quality that appeals to both filmmakers and viewers. This has led to increased adoption in premium televisions, smartphones, and streaming platforms.
Concurrently, open HDR standards such as HDR10 and HDR10+ have also seen widespread adoption, particularly due to their royalty-free nature and broad compatibility. These standards have become prevalent in a wide range of consumer electronics, from budget-friendly to high-end devices, making HDR technology more accessible to a broader audience.
The demand for HDR technologies extends beyond the consumer market, with significant interest from the professional videography sector. Filmmakers, content creators, and post-production houses are increasingly seeking HDR solutions to enhance their creative output and meet the growing expectations of audiences and distributors.
In the broadcast and streaming industries, the adoption of HDR technologies has become a key differentiator. Major streaming platforms and broadcasters are investing in HDR content production and delivery to attract and retain subscribers, driving further demand for compatible technologies and devices.
The automotive industry has also emerged as a potential growth area for HDR technologies, with advanced in-vehicle displays incorporating HDR capabilities to enhance driver information systems and passenger entertainment experiences.
As the market continues to evolve, there is a growing demand for standardization and interoperability between different HDR formats. This has led to increased collaboration between industry players and standards bodies to develop more unified approaches to HDR implementation.
The competitive landscape between Dolby Vision and other HDR standards has spurred innovation and investment in research and development. This competition has resulted in continuous improvements in HDR technology, benefiting both consumers and professionals in the videography industry.
Current HDR Landscape
The current HDR landscape is characterized by a diverse array of standards and technologies, each vying for dominance in the rapidly evolving field of high dynamic range imaging. At the forefront of this landscape are several key players, including HDR10, HDR10+, Dolby Vision, and HLG (Hybrid Log-Gamma).
HDR10 stands as the most widely adopted standard, serving as the foundation for many HDR-capable displays and content. It utilizes static metadata and a 10-bit color depth, offering a significant improvement over standard dynamic range (SDR) content. However, its static nature limits its ability to optimize brightness and color on a scene-by-scene basis.
Dolby Vision, developed by Dolby Laboratories, represents a more advanced HDR solution. It employs dynamic metadata, allowing for frame-by-frame optimization of brightness and color. With support for up to 12-bit color depth and a peak brightness of 10,000 nits, Dolby Vision offers a more nuanced and immersive viewing experience compared to HDR10.
HDR10+, backed by Samsung and Amazon, aims to bridge the gap between HDR10 and Dolby Vision. Like Dolby Vision, it utilizes dynamic metadata but maintains the 10-bit color depth of HDR10. This standard has gained traction in recent years, particularly in Samsung displays and Amazon Prime Video content.
HLG, developed by the BBC and NHK, stands out for its backward compatibility with SDR displays. This makes it particularly attractive for broadcast applications, where content needs to be viewable on both HDR and SDR screens without separate versions.
The current HDR landscape is further shaped by the increasing adoption of these technologies across various platforms. Streaming services like Netflix, Amazon Prime Video, and Disney+ have embraced HDR content, with many offering multiple HDR formats to cater to different devices and viewer preferences.
In the realm of content creation, filmmakers and videographers are increasingly leveraging HDR technologies to enhance visual storytelling. This has led to a growing demand for HDR-capable cameras, monitors, and post-production tools, further driving innovation in the field.
However, the fragmented nature of the HDR landscape presents challenges for content creators and consumers alike. The lack of a single, universal HDR standard means that content often needs to be mastered in multiple formats to ensure compatibility across different devices and platforms. This fragmentation also complicates the consumer experience, as viewers must navigate the complexities of different HDR formats when choosing displays and content.
HDR10 stands as the most widely adopted standard, serving as the foundation for many HDR-capable displays and content. It utilizes static metadata and a 10-bit color depth, offering a significant improvement over standard dynamic range (SDR) content. However, its static nature limits its ability to optimize brightness and color on a scene-by-scene basis.
Dolby Vision, developed by Dolby Laboratories, represents a more advanced HDR solution. It employs dynamic metadata, allowing for frame-by-frame optimization of brightness and color. With support for up to 12-bit color depth and a peak brightness of 10,000 nits, Dolby Vision offers a more nuanced and immersive viewing experience compared to HDR10.
HDR10+, backed by Samsung and Amazon, aims to bridge the gap between HDR10 and Dolby Vision. Like Dolby Vision, it utilizes dynamic metadata but maintains the 10-bit color depth of HDR10. This standard has gained traction in recent years, particularly in Samsung displays and Amazon Prime Video content.
HLG, developed by the BBC and NHK, stands out for its backward compatibility with SDR displays. This makes it particularly attractive for broadcast applications, where content needs to be viewable on both HDR and SDR screens without separate versions.
The current HDR landscape is further shaped by the increasing adoption of these technologies across various platforms. Streaming services like Netflix, Amazon Prime Video, and Disney+ have embraced HDR content, with many offering multiple HDR formats to cater to different devices and viewer preferences.
In the realm of content creation, filmmakers and videographers are increasingly leveraging HDR technologies to enhance visual storytelling. This has led to a growing demand for HDR-capable cameras, monitors, and post-production tools, further driving innovation in the field.
However, the fragmented nature of the HDR landscape presents challenges for content creators and consumers alike. The lack of a single, universal HDR standard means that content often needs to be mastered in multiple formats to ensure compatibility across different devices and platforms. This fragmentation also complicates the consumer experience, as viewers must navigate the complexities of different HDR formats when choosing displays and content.
Dolby Vision vs HDR10+
01 HDR image processing techniques
Various techniques are employed to process HDR images, including tone mapping, color grading, and dynamic range expansion. These methods aim to optimize the visual quality of HDR content, ensuring that it can be displayed effectively on a wide range of devices while preserving the enhanced contrast and color depth characteristic of HDR.- HDR image processing techniques: Advanced image processing techniques are employed to enhance the dynamic range and overall quality of HDR content. These methods include tone mapping, color grading, and contrast enhancement to optimize the visual experience across different display capabilities.
- Dolby Vision implementation: Dolby Vision technology is implemented to provide superior image quality through dynamic metadata, allowing for scene-by-scene optimization of brightness, color, and contrast. This results in a more immersive viewing experience with enhanced detail in both bright and dark areas of the image.
- Display device optimization for HDR: Display devices are optimized to support HDR standards, including improvements in peak brightness, color gamut, and local dimming capabilities. These enhancements allow for more accurate reproduction of HDR content, resulting in more vibrant and lifelike images.
- HDR content creation and mastering: Techniques for creating and mastering HDR content are developed to fully utilize the capabilities of HDR standards. This includes advanced color grading tools, HDR-specific workflows, and quality control processes to ensure consistent and high-quality HDR experiences across different platforms and devices.
- Compatibility and conversion between HDR standards: Methods are developed to ensure compatibility and enable conversion between different HDR standards, such as HDR10, HDR10+, and Dolby Vision. These techniques allow for optimal playback of HDR content across various devices and platforms, maintaining image quality while adapting to specific display capabilities.
02 Dolby Vision implementation
Dolby Vision technology is implemented to enhance image quality by utilizing dynamic metadata for scene-by-scene or frame-by-frame optimization. This approach allows for more precise control over brightness, color, and contrast, resulting in a more immersive viewing experience with improved detail in both bright and dark areas of the image.Expand Specific Solutions03 HDR standards compatibility
Various HDR standards, including HDR10, HDR10+, and HLG, are addressed to ensure compatibility across different devices and content delivery platforms. These standards define parameters such as color gamut, bit depth, and luminance levels, allowing for consistent HDR image quality across various display technologies and content sources.Expand Specific Solutions04 Display technology advancements
Advancements in display technologies, such as OLED, QLED, and Mini-LED, are utilized to better support HDR and Dolby Vision content. These technologies offer improved peak brightness, deeper blacks, and wider color gamuts, enabling more accurate reproduction of HDR content and enhancing overall image quality.Expand Specific Solutions05 Content creation and mastering for HDR
Techniques for creating and mastering content specifically for HDR and Dolby Vision are developed to fully utilize the capabilities of these formats. This includes specialized color grading processes, HDR metadata generation, and quality control measures to ensure that the final content takes full advantage of the extended dynamic range and color space offered by HDR standards.Expand Specific Solutions
Key HDR Industry Players
The competitive landscape for Dolby Vision vs. HDR standards in videography is characterized by a mature market with significant growth potential. The technology is in a relatively advanced stage of development, with major players like Dolby Laboratories, Philips, and Huawei actively involved. The market size is substantial, driven by increasing demand for high-quality video content across various platforms. Dolby Laboratories leads in innovation, while companies like Qualcomm and Canon contribute to the ecosystem through complementary technologies. The competition is intensifying as more companies, including Sony and Samsung, invest in HDR technologies to capture market share in this rapidly evolving field.
Dolby Laboratories Licensing Corp.
Technical Solution: Dolby Vision is a proprietary HDR technology that offers dynamic metadata for scene-by-scene optimization. It supports up to 12-bit color depth, providing a potential palette of 68 billion colors[1]. Dolby Vision can achieve peak brightness levels of up to 10,000 nits, significantly higher than standard HDR10's 1,000 nits[2]. The technology also includes a content mapping algorithm that optimizes the image for each specific display, ensuring consistent quality across various devices[3]. Dolby Vision IQ, an advanced feature, uses ambient light sensors to adjust HDR performance based on the viewing environment, enhancing the viewing experience in different lighting conditions[4].
Strengths: Superior color depth and brightness range, dynamic metadata for optimized scene-by-scene performance, and adaptive technology for various displays and environments. Weaknesses: Requires licensing, which can increase costs for manufacturers and potentially limit adoption.
Koninklijke Philips NV
Technical Solution: Philips, as a co-developer of HDR10+, offers an open-source, royalty-free HDR standard that competes with Dolby Vision. HDR10+ provides dynamic metadata similar to Dolby Vision, allowing for frame-by-frame optimization of brightness, color, and contrast[5]. The technology supports 10-bit color depth and can achieve brightness levels up to 4,000 nits[6]. HDR10+ Adaptive, introduced in 2021, uses the TV's light sensor to optimize picture quality based on ambient lighting conditions, similar to Dolby Vision IQ[7]. Philips has also developed its own P5 picture processing engine, which enhances HDR performance on their TVs, including upscaling SDR content to HDR-like quality[8].
Strengths: Royalty-free standard encouraging wider adoption, dynamic metadata for improved picture quality, and adaptive technology for various lighting conditions. Weaknesses: Lower color depth and peak brightness compared to Dolby Vision, potentially resulting in slightly less impressive visual performance.
Core HDR Innovations
Frame-rate scalable video coding
PatentActiveUS11936888B1
Innovation
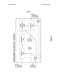
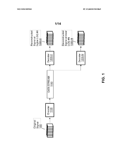
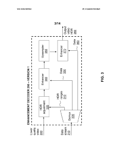
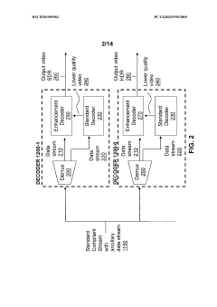
- The development of frame-rate scalable video coding techniques that allow for the encoding and decoding of video content at various frame rates and shutter angles, enabling the creation of a single version of HDR content that can be rendered compatible with a range of devices by combining and duplicating frames, while signaling metadata for efficient processing.
Signal element coding format compatability within a hierarchical coding scheme using multiple resolutions
PatentWO2020089583A1
Innovation
- A hierarchical coding scheme that allows for the encoding and decoding of HDR-type signals to be compatible with both HDR and SDR displays by converting between different signal element coding formats, including up-sampling and down-sampling, to provide a composite encoded video stream that can adapt to various decoding capabilities, thereby ensuring backwards compatibility and reduced bandwidth usage.
Content Creation Workflow
The content creation workflow for Dolby Vision and HDR standards in videography involves several key stages, each requiring specific tools and techniques. Initially, content creators must capture high dynamic range footage using cameras capable of recording wide color gamuts and high bit depths. For Dolby Vision, this often involves using cameras that can capture at least 14 stops of dynamic range, while other HDR standards may require slightly less.
Post-production is a critical phase where the true potential of HDR content is realized. Editors and colorists use specialized software that supports HDR color grading, such as DaVinci Resolve, Adobe Premiere Pro, or Autodesk Flame. These tools allow for precise manipulation of highlights, shadows, and color saturation beyond what is possible in standard dynamic range workflows.
For Dolby Vision specifically, content creators utilize the Dolby Vision Content Mapping Unit (CMU) or software-based alternatives to create dynamic metadata. This metadata allows for scene-by-scene and even frame-by-frame adjustments, ensuring optimal display across various devices. Other HDR standards like HDR10+ also employ dynamic metadata, albeit with different implementation methods.
Quality control is paramount in HDR workflows. Content creators must verify their work on reference monitors capable of displaying the full HDR color space and brightness range. This step ensures that the final product accurately represents the intended visual experience across different viewing environments.
Encoding and mastering HDR content present unique challenges. Dolby Vision requires specific encoding profiles and metadata integration, while other HDR standards may use different codecs or container formats. Content creators must carefully consider compatibility issues and delivery specifications for various platforms and devices.
Finally, the delivery phase involves packaging the content for distribution. This may include creating multiple versions to support different HDR standards and devices, ensuring that the content can be properly displayed on a wide range of consumer electronics. Throughout this workflow, maintaining color accuracy and preserving the expanded dynamic range is crucial to delivering the immersive visual experience that HDR technologies promise.
Post-production is a critical phase where the true potential of HDR content is realized. Editors and colorists use specialized software that supports HDR color grading, such as DaVinci Resolve, Adobe Premiere Pro, or Autodesk Flame. These tools allow for precise manipulation of highlights, shadows, and color saturation beyond what is possible in standard dynamic range workflows.
For Dolby Vision specifically, content creators utilize the Dolby Vision Content Mapping Unit (CMU) or software-based alternatives to create dynamic metadata. This metadata allows for scene-by-scene and even frame-by-frame adjustments, ensuring optimal display across various devices. Other HDR standards like HDR10+ also employ dynamic metadata, albeit with different implementation methods.
Quality control is paramount in HDR workflows. Content creators must verify their work on reference monitors capable of displaying the full HDR color space and brightness range. This step ensures that the final product accurately represents the intended visual experience across different viewing environments.
Encoding and mastering HDR content present unique challenges. Dolby Vision requires specific encoding profiles and metadata integration, while other HDR standards may use different codecs or container formats. Content creators must carefully consider compatibility issues and delivery specifications for various platforms and devices.
Finally, the delivery phase involves packaging the content for distribution. This may include creating multiple versions to support different HDR standards and devices, ensuring that the content can be properly displayed on a wide range of consumer electronics. Throughout this workflow, maintaining color accuracy and preserving the expanded dynamic range is crucial to delivering the immersive visual experience that HDR technologies promise.
Consumer Display Adoption
The adoption of High Dynamic Range (HDR) technologies in consumer displays has been steadily increasing over the past few years, with Dolby Vision and other HDR standards competing for market share. This trend is driven by the growing demand for enhanced visual experiences in home entertainment systems, particularly in high-end televisions and monitors.
Consumer adoption of Dolby Vision-enabled displays has been particularly strong in premium television segments. Major manufacturers such as LG, Sony, and Vizio have incorporated Dolby Vision into their flagship models, contributing to its growing presence in the market. The technology's ability to deliver superior contrast and color accuracy has resonated with consumers seeking cinema-quality experiences at home.
However, other HDR standards, such as HDR10 and HDR10+, have also gained significant traction. HDR10, being an open standard, has seen widespread adoption across a broader range of devices, including more budget-friendly options. This has made HDR technology accessible to a larger consumer base, driving overall market growth for HDR-capable displays.
The gaming industry has played a crucial role in accelerating consumer adoption of HDR displays. With the latest generation of gaming consoles supporting various HDR formats, gamers are increasingly seeking compatible displays to fully experience enhanced graphics and immersive gameplay. This has led to a surge in demand for HDR-capable gaming monitors and televisions.
Mobile devices have also contributed to the proliferation of HDR display technology. High-end smartphones and tablets now frequently feature HDR-capable screens, exposing consumers to the benefits of enhanced dynamic range in portable form factors. This exposure has, in turn, influenced purchasing decisions for larger displays in the home.
Despite the growing adoption, consumer education remains a challenge. The complexity of different HDR standards and their varying implementations can be confusing for average consumers. This has led to initiatives by manufacturers and retailers to simplify messaging and demonstrate the benefits of HDR technologies in-store, aiming to drive further adoption.
Looking ahead, the consumer display market is expected to continue its shift towards HDR-capable devices. As production costs decrease and content availability increases, HDR technologies like Dolby Vision and its competitors are likely to become standard features across a wider range of consumer displays, further accelerating adoption rates in the coming years.
Consumer adoption of Dolby Vision-enabled displays has been particularly strong in premium television segments. Major manufacturers such as LG, Sony, and Vizio have incorporated Dolby Vision into their flagship models, contributing to its growing presence in the market. The technology's ability to deliver superior contrast and color accuracy has resonated with consumers seeking cinema-quality experiences at home.
However, other HDR standards, such as HDR10 and HDR10+, have also gained significant traction. HDR10, being an open standard, has seen widespread adoption across a broader range of devices, including more budget-friendly options. This has made HDR technology accessible to a larger consumer base, driving overall market growth for HDR-capable displays.
The gaming industry has played a crucial role in accelerating consumer adoption of HDR displays. With the latest generation of gaming consoles supporting various HDR formats, gamers are increasingly seeking compatible displays to fully experience enhanced graphics and immersive gameplay. This has led to a surge in demand for HDR-capable gaming monitors and televisions.
Mobile devices have also contributed to the proliferation of HDR display technology. High-end smartphones and tablets now frequently feature HDR-capable screens, exposing consumers to the benefits of enhanced dynamic range in portable form factors. This exposure has, in turn, influenced purchasing decisions for larger displays in the home.
Despite the growing adoption, consumer education remains a challenge. The complexity of different HDR standards and their varying implementations can be confusing for average consumers. This has led to initiatives by manufacturers and retailers to simplify messaging and demonstrate the benefits of HDR technologies in-store, aiming to drive further adoption.
Looking ahead, the consumer display market is expected to continue its shift towards HDR-capable devices. As production costs decrease and content availability increases, HDR technologies like Dolby Vision and its competitors are likely to become standard features across a wider range of consumer displays, further accelerating adoption rates in the coming years.
Unlock deeper insights with Patsnap Eureka Quick Research — get a full tech report to explore trends and direct your research. Try now!
Generate Your Research Report Instantly with AI Agent
Supercharge your innovation with Patsnap Eureka AI Agent Platform!